Реле перепада давления воздуха DPS

Реле перепада давления DPS используются в системах вентиляции, кондиционирования и отопления для контроля работы фильтров, вентиляторов, рекуператоров и прочего оборудования.
Реле определяют наличие или отсутствие давления в вентиляционных каналах или помещениях с помощью силиконовой мембраны и встроенного контактного механизма, фиксируют разницу давления воздуха или неагрессивных газов в канале и передают дискретный сигнал в систему управления и автоматизации, обеспечивая надежную защиту и стабильную работу вентиляционного оборудования.
Реле DPS позволяют вручную настраивать порог срабатывания в диапазоне от 20 Па до 5000 Па в зависимости от модификации с точностью 5…10% или 10-15% от уставки в зависимости от модели. Регулировка дифференциала (гистерезиса) фиксированная для версии STANDART или настраиваемая в версии датчиков серии PRO.
Назначение и использование реле перепада давления DPS:
- контроль степени загрязнения фильтров;
- контроль работы и включения вентиляторов;
- сигнализация обрыва ремня вентилятора;
- контроль давления в воздуховодах и помещениях;
- сигнализация при обмерзании рекуператора;
- контроль работы в конденсационных котлах;
- контроль в системах дымоудаления и подпора воздуха.
-40…+85
Воздух, не агрессивные газы
DPS — IP54
DPS-PRO — IP65 (резиновая прокладка)
Промышленный пластик, полистирол
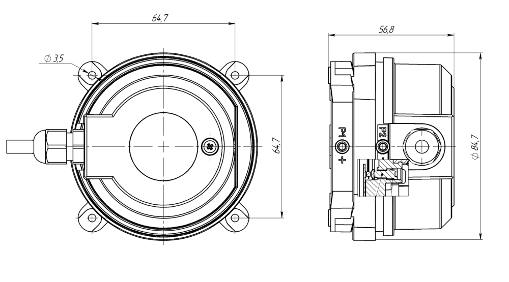
85x85x57
Промышленный силикон
DPS: от 50 до 1000 Па (зависит от модели)
DPS-PRO: от 20 до 5000 Па (зависит от модели)
5000
≤ 15% ± 10 Па (от уставки)
DPS: ≤ 50 ± 10 Па
DPS-PRO: настраиваемый 10…100 Па
Автоматический
±10 Па (от текущей уставки)
Рукоятка
Настроечный винт
±10 Па (от текущей уставки)
Подключение давления
Встроенные пластиковые штуцеры Ø 6 мм
PG7, IP68, полиамид (PA6), кабель D=2-7 мм
SPDT (перекидной контакт), 1.5(0.3) A, 230 В АС
РПИ-М-2.5-6.3 плоский разъем с изоляцией “мама”
Вертикально, штуцерами и вводом вниз
Трубка ПВХ 1 м (1 шт), фланцы (2 шт), разъемы РПИ (3 шт)
Реле перепада давления DPS
| Тип | Исполнение | Рабочий диапазон, Па | Цена с НДС, руб. |
|---|---|---|---|
| DPS | IP54 | 50...500; 100...1000 | 1400 |
| IP65 | 20...200; 30...300; 40...400; 50...500; 100...1000; 150...1500; 250...2500; 500...5000 | 1700 |
Конструкция реле перепада давления: составной пластиковый корпус со штуцерами для подвода давления диаметром 6 мм, кабельным вводом PG7, контактами и регулировочным колесиком в основании корпуса.
В комплект поставки входит: трубка из ПВХ длиной 1 или 2 метра, 2 монтажных фланца P-DPS диаметром 6 мм для отбора давления, саморезы для крепления реле, плоские изолированные разъемы для подключения. Фланцы устанавливаются до и после контролируемого элемента вентиляционной установки (фильтра, вентилятора, рекуператора) и соединяются с реле перепада давления с помощью силиконовой трубки.

Принцип работы основан на измерении разности давления воздуха «до» и «после» контролируемого устройства с помощью силиконовой мембраны встроенной в корпус и комплекта пружин с различной жесткостью, подобранных согласно измеряемому диапазону.
Если перепад давления превысил заданное значение, то мембрана оказывает критическое давление на шток, воздействующий на контактную группу и замыкает цепь, сигнализируя о текущем состоянии, работе или неисправности. При снижении давления на величину дифференциала реле, контактная группа размыкается под действием пружины и реле автоматически возвращается в исходное состояние.
В связи с непостоянным давлением внутри воздуховодов дифференциал реле базовой версии составляет примерно 10% от верхнего предела измерения для предотвращения дребезга контактов, что в том числе защищает от вибраций, воздействующих на реле со стороны вентустановки.

Монтаж реле производится в непосредственной близости от контролируемого элемента вентсистемы. Установка корпуса осуществляется на поверхности так, чтобы кабельный ввод был направлен к земле, в противном случае (при монтаже на горизонтальную поверхность) необходимо компенсировать величину уставки на 10-20 Па в большую или меньшую сторону и проверить работу реле, так как сила тяжести будет по иному воздействовать на его механизмы. Для удобства установки рекомендуется использовать монтажный уголок RGP-MP.
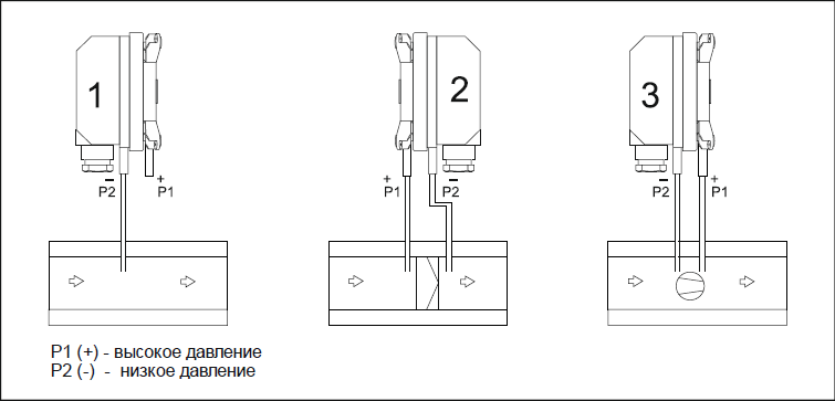
Типовые схемы подключения датчика перепада давления:
- Контроль пониженного давления в канале системы вентиляции.
- Контроль степени загрязнения фильтра в системе вентиляции.
- Контроль работы или обрыва ремня вентилятора.

Установка и настройка реле перепада давления:
- Установите датчик на поверхность вентиляционной установки или воздуховода
- Просверлите отверстия в воздуховоде, установите и закрепите штуцеры
- Соедините штуцеры и датчик с помощью силиконовой трубки
- Заведите кабель в датчик, подключитесь согласно схеме подключения
- Установите требуемое значение перепада давления с помощью колесика
- Включите систему вентиляции и проверьте правильность работы датчика с помощью тестера
- Для точной настройки уставки и дифференциала используйте электронный манометр
ВНИМАНИЕ: настройка дифференциала (гистерезиса) для серии PRO производится после выставления уставки срабатывания датчика путем поворота винта по часовой (уменьшение) или против часовой стрелки (увеличение). Поворачивайте винт не более чем на ½ оборота за 1 раз, после чего проводите тестирование. При достижении значения дифференциала 30 Па необходимо уменьшить шаг поворота до ¼. Не рекомендуется устанавливать дифференциал ниже 10-20 Па.
| Производители | Модели |
| РИДАН | DP100 (017D000500R, 017D000200R, 017D001001R) |
| SHUFT | PS-200-L, PS-500-L, PS-1000-L |
| VILMANN | DVL-2, DVL-5, DVL-10, DPD-2, DPD-5, DPD-10 |
| S+S REGELTECHNIK | DS-106, DS-106 B, DS-106 C, DS-106 D |
| REGIN (POLAR BEAR) | DPS-500N, DPS-1500N, DPS-4500N |
| CITYRON | ML20, ML50, ML100 |
| LEFOO | LF32-02, LF32-05, LF32-10, LF32-15 |
| THERMOKON | PS 300, PS 500, PS 1500, PS 4500 |
| PRODUAL | CPS 330, CPS 450, CPS 1100, CPS 4000 |
| FuehlerSysteme | DW / H-10, DW / H-20, DW/H-40, DW/H-50 |
| HK Instruments | PS200B, PS300B, PS500B, PS600B, PS1500B, PS4500B |
| EKF | RVG-10-500, RVG-10-200, RVG-10-1000 |
| SIEMENS | QBM81-3, QBM81-5, QBM81-10, QBM81-20, QBM81-50 |
| IECON | ADPR-Х20P200-FCC-B, ADPR-Х50P500-FCC-B |
| ОВЕН | РД30-ДД200, РД30-ДД500, РД30-ДД1000 |
| БВМ (BVM) | LF32-02, LF32-05, SR200, SR500 |